Liste de discussions
-
Vérifiée par Alloprof
Secondaire 3 • 3aQuelles sont les articulation de la jambe? Quels types de mouvement permet chacune d’elle?
science et technologie
-
Vérifiée par Alloprof
Secondaire 4 • 3aJe ne sais aucunement comment commencer ce problème.. Plus je réfléchis, moins je comprends comment trouver le courant de la base
-
Vérifiée par Alloprof
Secondaire 4 • 3abonjour, je ne comprend pas le principe de lampermetre le resistor le moteur le voltmetre bref pas mal tout la dedans. si quelqu'un pourrait mexpliquer svp :)
-
Vérifiée par Alloprof
Secondaire 4 • 3aBonsoir, je n'ai pas bien compris l'influence d'un transistor dans un circuit électrique et comment calculer la tension, l'intensité de courant ainsi que la résistance impliquant un transistor. Voici mon problème et ce que j'ai commencé, des pistes?
-
Vérifiée par Alloprof
Secondaire 1 • 3aSalut, je comprends pas trop
la masse volumique.
Des profs et des gens continuent à m’expliquer mais je ne comprends pas comment la calculer.
Avez vous des exemples plus visuel?
-
Vérifiée par Alloprof
Secondaire 4 • 3aMerci beaucoup Kylan T!!!vous m'aidez toujours:)
1.j'ai encore 2 questions lorqu'on mélange le sucre et de l'eau, c'est une transformation chimique?
2.si ce n'est pas une transformation chimique, est-ce que c'est toujours une transformation physique?
merci beaucoup
-
Vérifiée par Alloprof
Secondaire 2 • 3acomment être plus fort a l'école je n'arrive pas a avoir des bonne note a l'école et je travaille full fort
-
Vérifiée par Alloprof
Secondaire 4 • 3asalut,
1. losqu'on mélange l'eau et le sel, est-ce que c'est un transformation chimique, puisqu'il y a aucune idice qui montre...
2. pourquoi on dit que le mélange de poudre d'orange et l'eau n'est pas une transformation chimique, même s'ik y a une changement de couleur?
merci
-
Vérifiée par Alloprof
Secondaire 2 • 3aBonjour j’ai un laboratoire en science aujourd’hui de fin d’année si j’ai compléter correctement toute mes colonnes de matériel toute ma liste d’étapes que j’ai effectué mais que le seul inconvénient est que ma réponse final n’est pas la bonne est ce que je vais perdre tous mes point ?
-
Vérifiée par Alloprof
Secondaire 4 • 3aBonjour j ai de la misere a comprendre la difference entre un transfert d energie et une transformation d energie y a t il une astuce.
Merci
-
Vérifiée par Alloprof
Secondaire 4 • 3aje ne comprends pas la réponse
-
Vérifiée par Alloprof
Secondaire 4 • 3aEst-ce ma démarche est correct ?
-
Vérifiée par Alloprof
Secondaire 4 • 3apourquoi un cric (système de vis et écrou) est capable de lever des grandes charges, alors que c’est tout petit?
-
Vérifiée par Alloprof
Secondaire 2 • 3aSalut! J'ai vraiment besoin d'aide rapidement pour une simple question, est-ce selon le modèle atomique de Dalton, les atomes peuvent être brisé?
-
Vérifiée par Alloprof
Secondaire 4 • 3aBonjour, je me demandais s'il y avait un lien entre la concentration en mol d'une substance et l'intensité du courant de cette même substance? Je pensais qu'il y aurait peut-être une fonction qui est relié, mais je ne sais pas si cela est une droite de régression, une fonction quadratique ou même quelque chose d'autre?
Merci beaucoup!
-
Vérifiée par Alloprof
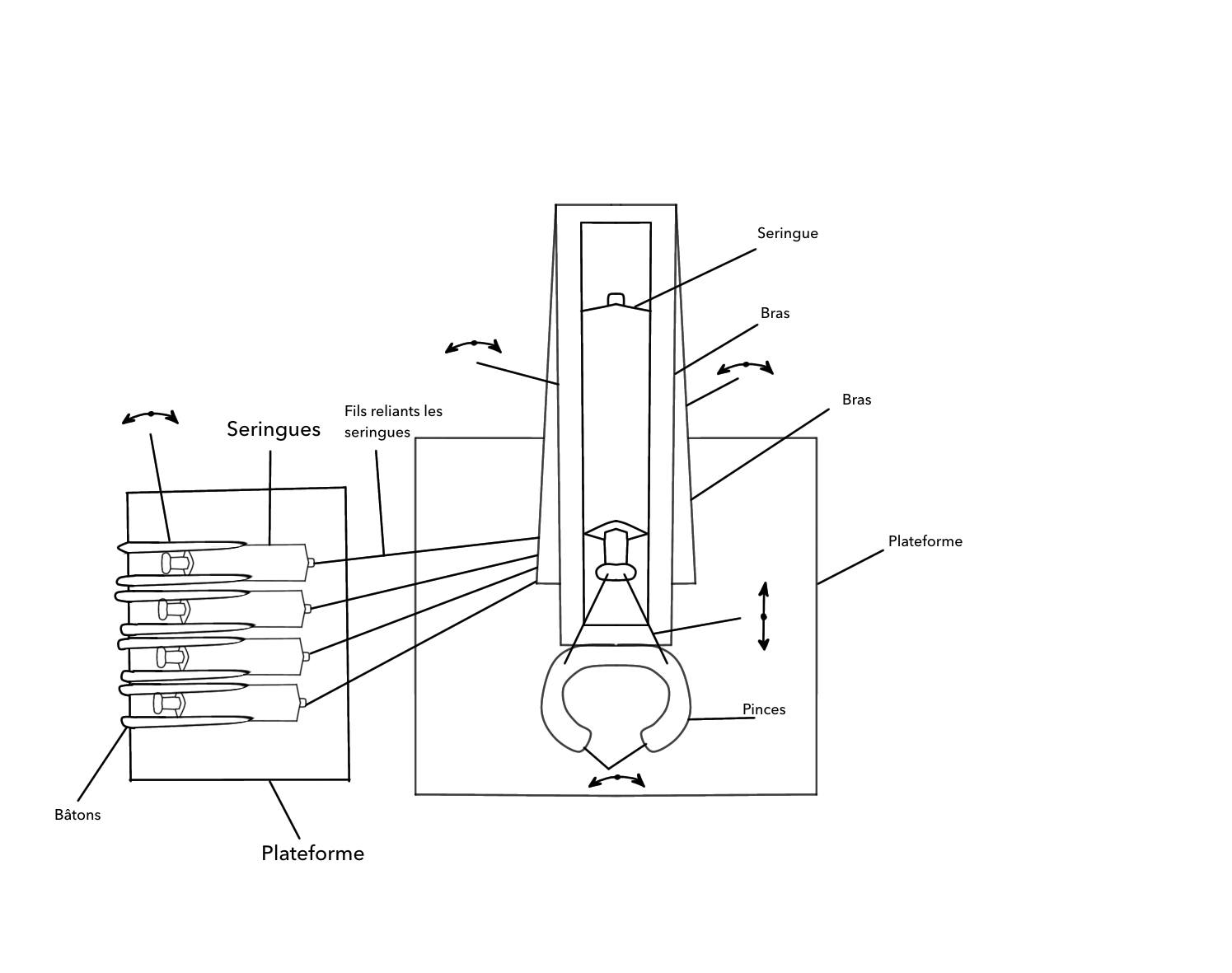
Secondaire 2 • 3aEst ce que mon schéma de principe d’une grue hydraulique est bon? Merci de répondre!
-
Vérifiée par Alloprof
Secondaire 4 • 3aBonjour pouvez vous m’aider avec ces 2 exercices
-
Vérifiée par Alloprof
Secondaire 4 • 3aBonjour, est ce que la diode électroluminescente produit de la lumière losqu'elle et traversé par un courant ET permet le passage du courant dans une seule direction?
-
Vérifiée par Alloprof
Secondaire 4 • 3aBonjour je ne comprend pas vraiment l’électricité en science et technologie de secondaire 4
-
Vérifiée par Alloprof
Secondaire 3 • 3aBonjour je n'arrive pas à tracer le rayons lumineux dans un exercise dans lequel on doit tracer des rayons lumineux en faisant attention au différents milieux traverser par la lumière.
-
Vérifiée par Alloprof
Primaire 6 • 3aBonjour !
Svp j'aimerais une réponse le plus vite possible ,
Quels sont tous les conducteurs et tous les isolants ?
Merci ?
-
Vérifiée par Alloprof
Secondaire 3 • 3aBonsoir,
SVP ME RÉPONDRE VITE DEMAIN C'EST MON EXAMEN
Donc, en fait
est ce que le verre peut faire à la fois une refraction et une reflexion ? mercii
-
Vérifiée par Alloprof
Secondaire 1 • 3aJe ne comprends pas vraiment le fonctionnement des méthodes de séparation des mélanges hétérogènes et homogènes.
-
Vérifiée par Alloprof
Secondaire 3 • 3aBonsoir,
quelles structures de l oeil permettent la vision ? merci
moi je pense que c'est
tous les milieux transparents et la rétine puis le nerf optique ... ? mercii de me repondre trèssss viteeee !!! bonne soiréee !!!
-
Vérifiée par Alloprof
Secondaire 4 • 3aJ'hésite entre le c et le b mais dans la question ils disent qu'il y a une seule réponse. J'ai cherché dans alloprof mais j'ai quand même pas compris. Merci de m'aider.
-
Vérifiée par Alloprof
Secondaire 1 • 3aBonjour, je me rappelle pleut trop de la différence entre caractéristiques et non caractéristiques est ce que vous pouvez m’aider ? Et exemple : l’eau est lequel des deux ?
-
Vérifiée par Alloprof
Secondaire 3 • 3aEst ce que l'organisme contient un limite au stockage de sucre ? Et est ce que vrai que quand l'organisme ne peux plus stocker de sucre dans les cellules, il va transformer le sucre en gras et vont être stocker dans les tissus adipeux ?
-
Vérifiée par Alloprof
Secondaire 4 • 3aBonjour!
Quelle est la différence entre masse molaire et concentration molaire ?
Merci beaucoup!
-
Vérifiée par Alloprof
Secondaire 5 • 3aquelles sont les quatres manières de trouver la solubilité du bicarbonate de sodium?
-
Vérifiée par Alloprof
Secondaire 4 • 3aBonjour , s'il y a un feu causé par le chaleur dans le forêt, est ce que c'est un combustion vive ou spontanée ?
on dit que le combustion spontanée atteint sa point ignition sans aide d'un énergie de l'extérieur., donc c'est un combustion vive ou non?
Merci







